Categories
> Size of stainless steel bolt:12.6MM;
> Sticking-out length: 15mm
Brand:
S4AItem NO.:
BL-N2000Durable Narrow Electric Bolt Lock
Model No.: BL-N2000
BL-N2000 electric bolt lock is controlled with an intelligent circuit, and its working voltage is DC12V.A
locking delay circuit is set at the side of the lock for choice among 0/3/6/9 seconds by the user.
Locking delay can be selected to prevent from bolt's being sprung out when the door is not closed stably.
A door detection circuit is designed in the bolt lock, which is led out of the lock through a wire for the user to detect and monitor on/off status of the door.
II. Instruction for use and installation:
1. Prior to use, please read the instruction carefully, check if major parts are complete, and prior to installation, try to simulate connection as per electric wiring diagram following working way of the electric bolt lock and perform the actual installation after the lock works normally.
2. The electric bolt lock consists of two major components (1) magnet seat and (2) main body of electric bolt lock.
At installation, the interval between the magnet seat and positive side of the bolt lock shall not be more than 3mm.
Point the bolt hole on magnet seat right at the bolt on the lock and place the magnet in the centre of the lock as shown in Figure 1.
3. Led wires of six colours to stick out of the tail part of the lock: red, black, brown, grey, green and orange, as shown in Figure 1. The red wire is for the positive pole of power supply of the bolt, which is connected to power of DC12V (+) or positive power line of a controlled power supply.
The black wire is for the negative pole of the power supply of the bolt, which is connected to the power of DC12V (-).
The brown wire is the door-opening control wire of the lock (OPEN). When it is connected to the negative pole of the power supply,
the lock will be opened. It is under the control of the door-opening button or access control part.
Grey, green and orange wires are door detecting wire and they are used to detect if the door is in the open or closed state.
Grey wire is the public point (COM)
green wire is normally open point (NO) and the orange wire is normally closed point (NC), as shown in Figure 2.
After the door is closed in place, the connecting states of normally open and normally closed points change with each other.

4. DC12V input wiring of electric bolt lock is as shown in Figure 3.

5. Adjustment switch for locking delay is set at the side of the lock. The time for locking delay can be selected by changing the position of the toggle switch. The method for the setting is as shown in Figure 4.

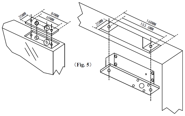
6.The method for installation is as shown in Figure 5.

III. Major technical parameters:
Working voltage: DC 12V
Red: Positive pole ( + )
Black: Negative pole ( - )
Current: Starting current is 0.95A and working current is 0.12A
Locking delay: 0/3/6/9S
LED indication of bolt status: Red light when bolt return and a green light when the bolt sticks out
Detection of door status: NO/NC
Size of stainless steel bolt:12.6MM; Sticking-out length: 15MM
Size of magnet seat: 84 (L) X 25mm (W)
Outer dimension of lock body: 168 (L) X 25 (W) X 37mm (D)
Size of decoration panel: 78(L) X 30 (W) X 0.8mm (D)
Size of extension rack: 28 (L) X 23 (W) X 4mm (D)

IV. Notes for caution:
1. The users shall take measures to prevent from moisture and water.
2.Wrap connectors that have not been used with insulating tapes separately.

Durable Narrow Electric Bolt Lock | |||
Model No. | Quantity/Carton | Gross Weight | Carton Size |
BL-N2000 | 50 PC | 32.82 KG | 65x23x32 CM |

S4A Datesheet_Durable Narrow Electric Bolt Lock